PGµç×Ó¹Ù·½ÍøÕ¾

PGµç×Ó¡¤(ÖйúÓÎ)¹Ù·½ÍøÕ¾

֪ͨح¹ØÓÚPGµç×Ó¹Ù·½ÍøÕ¾¸÷Ê¡¼¶¹«Ë¾¸´¹¤Ê±¼ä°²ÅÅ

2020-02-03 ÔĶÁ´ÎÊý: 13566

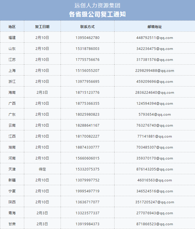
Ϊ¹á³¹ÖÐÑëÕþ¸®¹ØÓÚ·À¿ØÐÂÐ͹Ú×´²¡¶¾·ÎÑ×ÒßÇéµÄ²½·¥£¬£¬£¬£¬£¬£¬£¬×ñÕÕ¸÷µØ·½Õþ¸®¹ØÓÚ2020ÄêÏÄÀú´º½Úºó¸´¹¤µÄÒªÇ󣬣¬£¬£¬£¬£¬£¬²¢ÇÒÔÚÕâ»ù´¡ÉϾ¡×î´óÆð¾¢°ü¹Ü¿Í»§Ð§ÀÍÊÂÇéÕý³£¾ÙÐУ¬£¬£¬£¬£¬£¬£¬¼¯ÍŸ÷Ê¡¼¶¹«Ë¾¸´¹¤Ê±¼äÈçÏ£º

PGµç×Ó¡¤(ÖйúÓÎ)¹Ù·½ÍøÕ¾

ÔÚÑÓ³Ù¸´¹¤Ê±´ú, ÌìÏÂÊ¡¼¶¹«Ë¾Ð¡Í¬°éÌṩÔÚÏßЧÀÍ£¬£¬£¬£¬£¬£¬£¬ÒÔÈ·±£¿£¿£¿£¿Í»§Ð§ÀÍÊÂÇéÕý³£ÓÐÐò¾ÙÐС£¡£¡£ÈôÓÐÈκÎÎÊÌ⣬£¬£¬£¬£¬£¬£¬¿ÉʵʱÓëÏà¹ØÖ°Ô±ÁªÏµ¡£¡£¡£

ÌìÏÂЧÀÍÈÈÏߣº400-800-7668

¶àлÄúµÄÃ÷È·ÒÔ¼°Ò»Èç¼ÈÍùµÄÖ§³Ö£¡


·ÖÏíµ½
¡¾ÍøÕ¾µØÍ¼¡¿¡¾sitemap¡¿